-
Что происходит в автосалонах «Москвич»
-
Это не Москвич, это китайский JAC.
Шильдик только перевесили (и не удивлюсь, если "москвичовые" шильдики тоже в Китае делались)
-
Вот ты какой, "северный олень"! Или история о том, как китайский кроссовер JAC стал автомобилем "Москвич".
[COLOR=rgba(0, 0, 0, 0.45)]
[/COLOR]
16 ноября на сайте Росстандарта пояилась информация о том, что "отечественный" автомобиль "Москвич" получен ОТТС или Одобрение типа транспортного средства. Без этого документа выпускать, что либо на территории России нельзя. Причем, что интересно, документ, выданный на один год, прямо указывает на то, кто в "лавке главный" Ведь заявителем и даже заводом-изготовителем является вовсе не сам "Москвич", а расположенный в Набережных Челнах КАМАЗ.
https://avatars.dzeninfra.ru/get-zen...287/scale_1200
https://avatars.dzeninfra.ru/get-zen...bcd/scale_1200
[COLOR=rgba(0, 0, 0, 0.8)]
При чем тут тогда предприятие расположенное на Волгоградском проспекте в Москве? Резонно просите вы. Так вот, "Москвич" числится сборочным предприятием. Незавидная роль, согласитесь? Но дело даже не в этом. Если помните, совсем недавно я писал статью о том как неожиданно была отменена презентация в Москве кроссовера JAC JS4. Именно в ней я предположил, что это произошло вовсе не случайно. И это не смотря на то, что готовые, товарные автомобили даже поступили к дилерам марки. Поскольку появись машина в России она бы стала конкурентом "Москвича". А это, как вы сами понимаете, никому не нужно. Иначе бы все напомнило ситуацию когда змея от голода заглатывает собственный хвост. Да и часы тикают, до начала так сказать производства сталось меньше 15 дней. Сколько будет стоить изготовленный в Москве кроссовер я не знаю. Да это и не важно. Зато можно узнать о том, что будут представлять собой машины которые появятся теперь уже у дилеров "Москвич".
https://avatars.dzeninfra.ru/get-zen...ff7/scale_1200
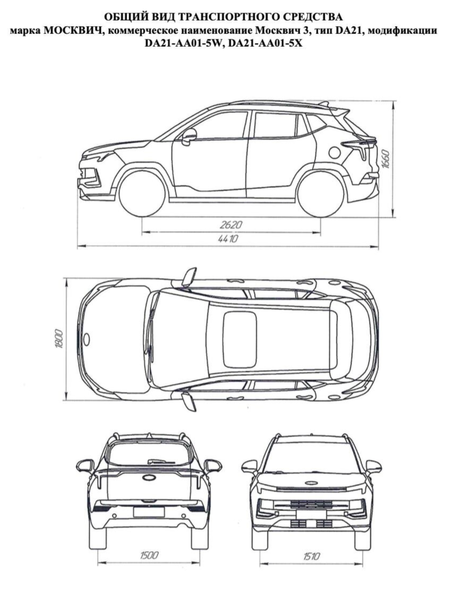
Итак у нас JAC JS4 получит имя "Москвич 3", такой намек на то, что будут видимо модели с индексами 1 и2, а может и 4. Размеры автомобилей одинаковые - 4 410х1 800х1 660 мм, колесная база — 2 620 мм. Привод только передний, априори. Поскольку конструктивно он не может быть установлен. Ведь задняя подвеска полузависимого типа, с торсионной балкой. Передняя, типа Макферсон. Под капотом "Москвич 3" будут только бензиновые моторы. Объем турбированного силового агрегата развивающего 150 сил 1500 кубов. Будет и атмосферный мотор -1,6 литра с отдачей в 108 "лошадок". Коробок тоже две. турбомотор может быть соединен с шестиступенчатой "механикой" или вариатором. А вот версии с 1600 кубовым движком достанется "ручка", причем безальтернативно. Интересно, что на родине, в Китае JAC оснащает все без исключения машины двумя типами коробок. Но нам и так сойдет.
https://avatars.dzeninfra.ru/get-zen...ca9/scale_1200
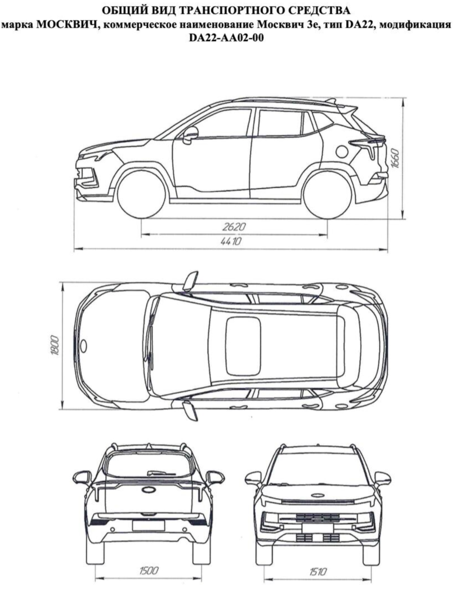
Будет и третий вариант машины, он получил имя "Москвич 3е". Как вы понимаете речь идет об "электричке". И это уже продающийся в Поднебесной JAC iEVs4. Как показано на рисунке батарея расположена под полом и задним рядом сидений(ее емкость 187 Ач), мотор приводит в движение передние колеса(Он честно говоря совсем слабенький и развивает всего 68 лошадок). Причем как утверждают сами китайцы, вся электросистема, батареи и мотор, не боятся воды.
https://avatars.dzeninfra.ru/get-zen...607/scale_1200
Если ориентироваться на данные сайта китайского производителя, то запаса хода хватит на 402 км. Правда это по циклу NEDC, а это значит, что можно село делить этот пробег на два.
https://avatars.dzeninfra.ru/get-zen...537/scale_1200
От "быстрой" зарядки батарейку можно зарядить за 45 минут, от обычной розетки для этого потребуется 9,5 часов.
https://avatars.dzeninfra.ru/get-zen...405/scale_1200
В общем все как обычно. Своего сделать не могли, но отрапортуют, что уложились в срок. Впрочем, людям умеющий хоть немного думать это было ясно изначально. Ведь нельзя из ничего создать что-то. Ну не получается так. Когда нет технологий и инженеров, нет разработок и даже опыта ничего путного выйти не может.
https://avatars.dzeninfra.ru/get-zen...a4e/scale_1200
Теперь о ценах. Их и правда на "Москвич" еще не объявляли. Но вот в самом Китае самый дорогой автомобиль с турбомотором и вариатором обойдется, в переводе на рубли в 1 135 115. Правда в то, что он станет у нас стоить столько же я сильно сомневаюсь.
[/COLOR]
-
-
Кроссовер «Москвич 3» поступит в продажу в новой комплектации
https://r.mt.ru/r30/photo3196/20144194939-0/jpg/bp.webp
Кроссовер «Москвич 3» поступит в продажу в новой комплектации «комфорт» уже в ближайшее время. Об этом рассказал в среду, 12 апреля, генеральный директор московского автомобильного завода (МАЗ) «Москвич» Дмитрий Пронин.
«Мы планируем запустить еще одну комплектацию. Там будут предусмотрены, например, подогрев сидений, цифровая приборная панель диагональю 10,25 дюйма, электропривод складывания боковых зеркал, а также дополнительные системы помощи водителю», — сказал он в интервью «РИА Новости».
В стандартной версии кроссовер имеет климат-контроль, бесключевой доступ, камеру заднего вида и люк в крыше с электроприводом. Его стоимость стартует от 1,97 млн рублей.
Помимо «Москвича 3» сейчас в линейке бренда еще одна модель — электромобиль «Москвич 3е», цена которого начинается от 3,5 млн рублей. В планах предприятия выпуск еще двух автомобилей.
https://r1.mt.ru/r30/photo50E4/20590...-0/jpg/bp.webp
Ранее в этот день Пронин рассказал, что городские кроссоверы «Москвич 3» уже появились в такси. В таксопарки передано более 150 машин. Сейчас завод продолжает переговоры по поводу поставок автомобилей со службами каршеринга. Кроме того, несколько «Москвичей» были переданы «Мосгорстройнадзору», а пять электромобилей — министерству здравоохранения столицы, указал он.
До этого, в феврале, в автоконцерне сообщили об отправке кроссоверов «Москвич 3» и его электрической версии «Москвич 3е» в российские регионы. Продажи автомобилей у официальных дилеров стартовали 3 марта.
https://r.mt.ru/r30/photoE7FE/20036486335-0/jpg/bp.webp
Автозавод «Москвич» располагается на площадке бывшего завода «Рено Россия». После прекращения работы в РФ в мае 2022 года французский автоконцерн Renault передал производство правительству Москвы. Продажи автомобилей бренда стартовали в январе в Москве и Санкт-Петербурге, а сейчас доступны уже в 25 российских городах.
ИЗВЕСТИЕiz
-
Какой советский автомобильный двигатель был самым продвинутым
20/09/2023
https://r2.mt.ru/r4/photo1500/20887596098-0/jpg/bp.webp
У многих граждан существует известная степень предубеждения к отечественной и советской автомобильной промышленности. Что ж, СССР действительно не был лидером и новатором в области именно потребительских автомобилей. Впрочем, это отнюдь не означает, что удачных и передовых разработок на этот счет не имелось. Среди прочего создавались и достаточно удачные силовые агрегаты.
https://r3.mt.ru/r4/photo26D4/20110668947-0/jpg/bp.webp
Лучший советский двигатель.
В 1967 году в Советском Союзе был создан без преувеличения если не самый лучший автомобильный двигатель, то уж точно один из лучших автомобильных силовых агрегатов своего времени. Это была силовая установка разработки Уфимского завода авиационных моторов - УЗАМ-412. Создавался он специально для автомобиля Москвич-412. Двигатель имел рабочий объем в 1.5 литра и отдачу в 75 лошадиных сил. На момент конца 1960-х годов установка во многом была инновационной. Главный конструктор Александр Андронов утверждал, что в действительности УЗАМ-412 был еще мощнее, и отдача установки достигала 80 л.с.
https://r1.mt.ru/r4/photo0B35/20333741796-0/jpg/bp.webp
Выпускался почти 40 лет
УЗАМ-412 – это был четырехрядный верхнеклапанный агрегат с «мокрыми» запрессованными в алюминиевый блок гильзами. Мотор использовал стальной коленвал с резиновыми манжетами. Привод ГРМ был оснащен роликовой цепью, а клапана имели V-образное расположение относительно распредвала. Угол наклона составлял 52 градуса. Интересной особенностью 412-го было то, что распредвал с широкими фазами, использовавшийся в двигателе, был больше свойственен для спортивных, нежели гражданских авто. Благодаря этому в моторе создавался эффект, схожий с турбонаддувом. Правда, были у такого решения и минусы: на оборотах ниже средних производительность двигателя заметно снижалась…
https://r5.mt.ru/r4/photoF81D/20556814645-0/jpg/bp.webp
Новенький Москвич-412
Производились силовые установки УЗАМ-412 с 1967 по 2001 год и устанавливались на самые разные автомобили отечественного производства. В общей сложности мотор получил 10 модификаций. Наиболее знаковой считается модель УЗАМ-412Д. Такие двигатели были менее производительны – мощность упала до 67 л.с, зато более надежны и неприхотливы. Заправлять УЗАМ-412Д можно было даже самым низкокачественным и дешевым АИ-76. Производились такие моторы преимущественно для сельской и сельскохозяйственной техники. При этом у «Д-шки» имелись широкие возможности по форсировке. С парой итальянских карбюраторов «Weber» установку можно было «разогнать» до 92 л.с!
https://r.mt.ru/r4/photo6AB0/20779887494-0/jpg/bp.webp
Отличный был двигатель.
В 1990-е годы качество сборки двигателей УЗАМ-412 заметно просело. Появлялось много бракованных моделей. Ситуация стала улучшаться лишь к 2000-ым, однако вскоре мотор просто сняли с производства вместо того, чтобы модернизировать и улучшать конструкцию. В те же времена злые языки стали говорить, что в действительности УЗАМ-412 был копией немецкого BMW M10. Два мотора действительно похожи, однако вместе с тем имеют и много отличий. У моторов разные камеры сгорания и блоки цилиндров. Есть и множество других более мелких отличий, как наличие съемных гильз в советском 412-ом.
источник
-
7 нескучных фактов об автомобиле «Москвич» ко дню его рождения
От плагиата до постельной сцены.
10 декабря 2020
https://n1s2.hsmedia.ru/bb/ac/ba/bba...1607105019.jpg
Ты вот не знал, а сегодня автомобилям «Москвич» исполняется 90 лет. Вернее, исполнилось бы. Советская марка была основана в ноябре 1930-го, но, чуть-чуть не дотянув до собственного 80-летнего юбилея, полностью ликвидирована в 2010 году. Хороший повод помянуть «Москвич» добрым словом. Это ведь далеко не худшее, что родилось при СССР.
Один из первых «Москвичей» не понравился Сталину
https://n1s1.hsmedia.ru/53/4d/e6/534...1607008936.jpg
Как и многие советские предприятия, будущий завод «Москвич» начинал с… плагиата. С 1930-го по 1939-й на московском заводе собирали лицензионные «Форды». Но вот первая «самостоятельная» модель Московского завода — микролитражка КИМ-10 — была более-менее нагло слизана с британского Ford Prefect. Правда, в серию она все равно не пошла.
Говорят, что на смотринах у самого Сталина, Иосиф Виссарионович прищемил усы дверью остался недоволен двухдверным форматом КИМа. Не знаем, расстреляли ли кого-то в итоге (дело было в 1939-м, вполне даже могли), но на конвейер «десятка» не пошла.
«Москвич-400» — это трофей из Берлина
https://n1s2.hsmedia.ru/1f/0a/fe/1f0...1607009145.jpg
Ну а если уж говорить о плагиате… Первой послевоенной продукцией московского автозавода стал «Москвич-400». Его конструкция — точная копия немецкого Opel Kadett K38. Но здесь есть одно извиняющее обстоятельство. «Кадетт» не украли, а забрали в качестве трофея военного времени. Это, согласись, совсем другое дело.
Четыре имени одного предприятия
https://n1s2.hsmedia.ru/6e/48/b3/6e4...1607009200.jpg
https://n1s2.hsmedia.ru/8e/fd/e7/8ef...1607009200.jpg
https://n1s1.hsmedia.ru/3c/52/c3/3c5...1607009200.jpg
Кстати, у завода «Москвич» несколько имен. В разные годы своей насыщенной истории он был известен как завод КИМ (Коммунистический интернационал молодежи), МЗА/МЗМА (Московский завод малолитражных автомобилей), АЗЛК (Автомобильный завод имени Ленинского комсомола) и, наконец, просто ОАО «Москвич».
Он был среди лучших в классе
https://n1s1.hsmedia.ru/37/0d/b1/370...1607009216.jpg
Репутация бренда, выпускавшего отсталые легковушки (пятно позора чуть ли не каждого советского предприятия), к «Москвичу» прилипла напрасно. В 1960-х на московском заводе создавали очень даже достойные автомобили. Даже по высоким евростандартам. Скажем, семейство 408/412 в расцвете сил на равных соперничало с «Опелями», «Фиатами» и «Рено» того времени. В лучшие годы свыше 60% продукции АЗЛК шло на экспорт. Так-то!
У него был классный дизайн
https://n1s2.hsmedia.ru/36/6c/54/366...1607009237.jpg
Автомобильного дизайна как профессии в СССР, может, и не существовало, но потрясающе красивые автомобили все же случались. Опытный «Москвич-408-Турист» — одна из самых изящных и стильных легковушек за всю историю советского автопрома. Жаль, что этот миловидный родстер не пошел в серию.
Однажды команда «Москвичей» обошла Porsche на международном ралли
https://n1s2.hsmedia.ru/e5/f0/3e/e5f...1607009644.jpg
Скоростью и мощью не отличались даже лучшие из серийных «Москвичей», зато выносливостью и надежностью они порой удивляли даже грандов. Именно выносливостью на безжалостной трассе ралли-марафона «Лондон — Мехико — 1970», можно объяснить третье место команды «Автоэкспорт» на «Москвиче-412». Наши оставили позади Mercedes-Benz и Porsche!
«Товарищ Катанян? Здрасьте…»
https://n1s1.hsmedia.ru/5c/9c/3b/5c9...1607009638.jpg
Постельные сцены в советских фильмах редки еще и потому, что заниматься любовью в тесных салонах наших малолитражек было тем еще удовольствием. Тем не менее одному из «Москвичей» повезло. Речь о первой переднеприводной модели завода — АЗЛК-2141 «Алеко». Она засветилась в мелодраме «Забытая мелодия для флейты», став местом, встречи звезд советского экрана Леонида Филатова и Татьяны Догилевой. Не каждой тачке так везет.
Автор текста:Радек Дворжак
MAXIM